РЕЛЕ ВРЕМЕНИ
Реле времени предназначены для коммутации электрических цепей устройств с заданной временной выдержкой. Описываемые реле времени не содержат сетевого трансформатора, поэтому позволяют значительно снизить их массу и габаритные размеры. При налаживании и эксплуатации реле необходимо соблюдать меры предосторожности, так как цепи и элементы этих устройств находятся под сетевым напряжением. Если же необходимо обеспечить отсутствие гальванической связи с сетью, то проще всего питать реле времени через разделительный трансформатор соответствующей мощности.
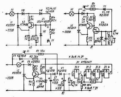
На рис. 1,а изображена принципиальная схема реле времени с нагрузкой в виде осветительных ламп накаливания. Подобные реле могут быть установлены в корридо-рах, лестничных площадках, прихожих с целью экономии электрической энергии и увеличения срока службы ламп.
Реле времени содержит тринистор (триодный тиристор) VI и времязадающий узел на транзисторе V3, управляющий работой тринистора. В исходном состоянии конденсатор С1 заряжен до напряжения сети, транзистор и тринистор закрыты. При нажатии на кнопку S1 конденсатор С1 разряжается через резистор R5 и диод V5. В каждый положительный прлупериод сетевого напряжения конденсатор заряжается через эмиттерный переход транзистора V3, в результате тринистор VI открывается и включает лампу HI. В отрицательный полупериод напряжения ток через устройство не протекает.
После отпускания кнопки в каждый положительный полупериод напряжения ток через диоды V2, V4, резистор R4 и эмиттерный переход транзистора V3 подзаряжает конденсатор С1 и накал лампы плавно убывает. Время каждого зарядного импульса примерно равно времени открывания тринистора. Благодаря этому при сравнительно небольших емкости конденсатора С1 и сопротивлении резистора R4 удалось получить значительную постоянную времени зарядки. После полной зарядки конденсатора ток через транзистор прекращается и тринистор закрывается. Нужную выдержку времени на выключение лампы устанавливают подстроенным резистором R3.
Максимальная временная выдержка реле на отключении лампы около 10 мин.
В конце выдержки накал лампы начинает убывать. В ждущем режиме устройство не потребляет тока от сети.
В реле времени можно использовать любые диоды из серии КД105 или диоды Д226Б. Транзистор необходим с максимально допустимым напряжением коллектор — эмиттер 300 В. Конденсатор С1 желательно выбрать в герметичном исполнении, например ЭГЦ. Тринистор VI должен быть рассчитан на обратное напряжение не менее 300 В.
На рис. 1,6 показан второй вариант схемы реле времени с выдержкой на отключение нагрузки. Лампы здесь, как и в предыдущем реле, питаются однополупе-риодным напряжением. Максимальная выдержка времени около 20 мин, а ток, потребляемый в ждущем режиме, 2 мА. Устройство позволяет обойтись без высоковольтного конденсатора, поэтому имеет меньшие габаритные размеры по сравнению с первым вариантом.

Рис. 1
В исходном состоянии конденсатор С1 разряжен, полевой транзистор V4 открыт, транзистор V3 и тринистор VI закрыты. При нажатии на кнопку S1 отрицательные полупериоды сети заряжают конденсатор С1 до напряжения стабилизации стабилитрона V5. Когда закрывается транзистор V4, a V3 и тринистор VI открываются — включается лампа HI. После отпускания кнопки конденсатор разряжается через подстроенный резистор R5, которым устанавливают нужную выдержку времени. При уменьшении напряжения на конденсаторе до напряжения отсечки транзистора V4 транзистор V4 открывается, a V3 и тринистор VI закрываются, лампа гаснет.
Для устройства пригодны любые диоды на обратное напряжение не менее 400 В, транзистор на максимально допустимое напряжение коллектор — эмиттер 300 В. Вместо КП302А можно использовать транзисторы КП302Б, КПЗО5Д, КП305Е.
На рис. 1,в представлена схема еще одного варианта реле времени для , автоматического выключения осветительных ламп. Максимальная временная выдержка реле около 20 мин, потребляемый ток в ждущем режиме 2 мА. Устройство мгновенно выключает лампу в конце выдержки, исключая образование радиопомех. Реле времени можно применить для освещения подъездов, установив на каждом этаже и у входной двери кнопки, включенные параллельно.
Устройство содержит тринистор V2, управляющий транзистор V4, времязадающий узел на микросхеме D1 и источник питания микросхемы. В исходном состоянии конденсатор С2 разряжен, на выходе элемента D1.4 напряжение низкого уровня (сигнал логического 0), транзистор V4 и тринистор V2 закрыты, и лампа HI не горит. При нажатии на кнопку S1 через резистор R1 и диод V7 протекает ток, заряжающий конденсатор С2 до напряжения стабилизации стабилитрона V5. На выходе элемента D1.1 устанавливается напряжение низкого уровня, на выходе D1.2 — высокого (сигнал логической 1). Транзистор V4 и тринистор V2 открываются, и включается лампа HI. После отпускания кнопки конденсатор С2 разряжается через подстроенный резистор R6, служащий для установки нужной выдержки. После разрядки конденсатора С2 до напряжения примерно 4 В транзистор V4 и тринистор V2 закрываются и лампа гаснет.
Требования к диодам и транзистору устройства такие же, как и в предыдущих реле. Вместо микросхемы К176ЛА7 можно использовать К176ЛЕ5. Тринистор должен быть рассчитан на обратное напряжение не менее 300 В. Если суммарная мощность подключаемых к реле времени ламп превышает 600 Вт, тринистор необходимо установить на теплоотвод.
При правильном монтаже и исправных элементах описанные реле времени начинают работать сразу, без налаживания. Поскольку к включенной лампе приложено напряжение около 155 В, обычные лампы на 220 В в реле времени будут гореть неполным накалом. (Если необходимо работать с полным накалом, надо питать реле времени через разделительный трансформатор с коэффициентом трансформации 220/155=1,4.)
Реле времени мощностью не более 100 Вт с выдержкой на выключение осветительной лампы около 10 мин можно собрать по принципиальной схеме, показанной на рис. 2. Устройство содержит выпрямительный мост VI — V4, тринистор V5, управляющий транзистор V6 и времязадающий узел на конденсаторе С1, стабилитроне V8 и транзисторе V7. При замыкании контактов выключателя S1 транзистор V7 закрыт, a V6 и тринистор V5 открыты и лампа HI горит.
Через диод V9 и резистор R4 конденсатор С1 заряжается до напряжения стабилизации стабилитрона V8. После этого транзистор V7 открывается, V6 и тринистор V5 закрываются — лампа гаснет.
При замыкании контактов выключателя S2 конденсатор С1 разряжается, и снова загорается лампа. HI. Лампа будет гореть до размыкания контактов выключателя S1. Очередной запуск устройства производят кратковременным включением выключателя S2 (при включенном S1). Нужную выдержку устанавливают переменным резистором R4.
Реле времени можно собрать на любых кремниевых маломощных транзисторах соответствующей структуры со статическим коэффициентом передачи тока не менее 50, например КТ312Б. Диоды VI — V4 должны выдерживать прямой ток не менее 300 мА и обратное напряжение 400 В (например, Д226Б); диод V5 — любой кремниевый маломощный. Тринистор следует выбирать с допустимым прямым напряжением не менее 300 В. Если у тринистора оказался слишком большой ток управления, необходимо параллельно резистору R2 подключить резистор такого же сопротивления.


Рис. 2 Рис. 3
Реле времени, принципиальная схема которого изображена на рис. 3, позволяет плавно до номинального значения увеличивать ток через лампу в течение 1 с после ее включения. Это позволяет значительно увеличить срок службы лампы. Причина быстрого разрушения нити накала заключается в том, что в момент включения лампы из-за малого сопротивления холодной нити через нее протекает начальный импульс тока, во много раз превышающий номинальное значение.
Узел временной задержки на включение собран на транзисторе V7 и конденсаторе С1. В исходном состоянии транзисторы V6, V7 и тринистор V5 закрыты, и ток через лампу HI не течет. Конденсатор С1 плавно заряжается и при этом плавно открываются транзисторы V6, V7 и тринистор V5, увеличивая ток через лампу. После выключения реле конденсатор разряжается через резистор R5.
Мощность лампы не более 100 Вт, при большей мощности диоды КД105Б следует заменить на КД202Ж, КД202С.
Транзисторы КТ315Б можно заменить любыми кремниевыми маломощными соответствующей структуры со статическим коэффициентом передачи тока не менее 50. Диод V8 — кремниевый маломощный.
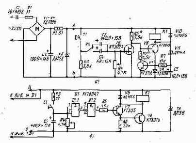
Принципиальная схема реле времени для коммутации осветительных и нагревательных приборов мощностью не более 100 Вт с регулируемой выдержкой от 5 с до 30 мин показана на рис. 4. В исходном состоянии конденсатор С1 разряжен, полевой транзистор V7 открыт, V6 и тринистор V5 закрыты, и ток через нагрузку RH не течет. При нажатии на кнопку S1 через резистор R5 заряжается конденсатор С1 до напряжения, равного падению напряжения на резисторе R6. При этом транзистор V7 закрывается, V6 и тринистор V5 открываются в начале каждого полупериода напряжения, пропуская ток через нагрузку. После отпускания кнопки конденсатор разряжается через подстроечный резистор R4. Как только напряжение на конденсаторе уменьшится до напряжения отсечки транзистора V7, реле перейдет в исходный режим, и нагрузка будет обесточена.
Транзистор V6 должен быть рассчитан на максимально допустимое напряжение коллектор — эмиттер 300 В. Можно попробовать заменить его транзистором КТ605Б. Транзистор КПЗО2А можно заменить на КП302Б или КП302В, но при этом выдержка времени будет меньше из-за большего напряжения отсечки у этих транзисторов. Конденсатор С1 следует выбрать с малым током утечки, например К52-2, К52-1, ЭТО. Для работы с временной выдержкой до долей секунды вместо подстроечного резистора R4 нужно включить многопозиционный переключатель с набором постоянных резисторов.
Принципиальная схема универсального реле времени, предназначенного для включения или выключения тепловых и осветительных приборов, а также радиоаппаратуры, изображена на рис. 5.а. Устройство имеет два поддиапазона выдержки — «1...50 с» и «1 ...30 мин». Собственная потребляемая мощность реле около 3 Вт.
Времязадающий узел собран на транзисторе V6 и конденсаторах СЗ, С4. Транзистор V7 и стабилитрон VII составляют цепь обратной связи.
На транзисторе V8 собран усилитель тока, нагрузкой которого служит исполнительное реле К1. В исходном состоянии конденсатор СЗ (или С4) разряжен, транзисторы V6, V7 открыты, V8 закрыт, реле К1 обесточено. При нажатии на пусковую кнопку S1 заряжается конденсатор СЗ (выдержка в минутах) или конденсатор С4 (выдержка в секундах). При этом транзисторы V6 — V8 остаются в исходном состоянии.

Рис. 4

Рис. 5
После отпускания кнопки S1 положительный вывод заряженного конденсатора через резистор R3 оказывается соединенным с общим проводом, поэтому транзистор V6 и вслед за ним V7 закрываются, V8 открывается и срабатывает реле К1. Конденсатор СЗ (С4) медленно разряжается через переменный резистор R4. Как только напряжение на затворе полевого транзистора V6 уменьшится до уровня отсечки, он приоткроется, а транзистор V8 начнет закрываться. Напряжение на обмотке реле К1 уменьшится, а на коллекторе транзистора V8 увеличится. Как только напряжение на коллекторе транзистора V8 превысит напряжение стабилизации стабилитрона VII, откроется транзистор V7 и вступает в действие цепь обратной связи. При этом транзистор V8 быстро закрывается и реле К1 отпускает якорь. Применение положительной обратной связи способствует быстрому отключению реле К1 при большой выдержке, когда транзистор V6 закрывается медленно. Конденсатор С5 сглаживает колебания напряжения в цепи обратной связи, исключая дребезжание якоря реле при его отпускании.
Для реле можно применить диоды КД205Б, КЦ405В, Д226Б (VI — V4, V9, V10). Вместо КП302А можно использовать любой из серии КП302 с напряжением отсечки не более 7 В. Транзистор КТ801Б можно заменить на КТ801А, П701, П701А, П701Б. Конденсаторы СЗ, С4 должны иметь возможно меньший ток утечки (К52-2, К52-1, ЭТО). Реле К1 на ток срабатывания не более 70 мА. Контакты реле должны быть рассчитаны на коммутацию переменного тока не менее 2 А при напряжении 220 В.
При налаживании устройства следует помнить, что его элементы находятся под сетевым напряжении.
Для безопасности устройство при налаживании можно питать от источника постоянного напряжения 15 В, подключив его к выводам конденсатора С2. Подборкой сопротивления резистора R5 при закрытых транзисторах V6 и V7 добиваются, чтобы напряжение на коллекторе транзистора V8 было не более 2 В. Резистор R5 подбирают таким, чтобы реле К1 четко срабатывало при закрывании транзистора V6 и быстро отпускало якорь при больших выдержках.
Подобное реле времени можно собрать с применением логической микросхемы (рис. 5, б). В связи с тем что напряжение питания применяемой микросхемы 9 В, необходимо в блоке питания использовать стабилитрон V9 на напряжение стабилизации 9 В (Д815В). В исходном состоянии конденсатор СЗ разряжен, на выходе элемента D1.2 действует напряжение низкого уровня, транзисторы V7, V8 закрыты и реле К1 выключено. При нажатии на кнопку S1 конденсатор СЗ заряжается током через резистор R3 до напряжения 9 В, уровень напряжения на выходе элемента D1.2 меняется с низкого на высокий, транзисторы V7, V8 открываются и реле К1 срабатывает. При разрядке конденсатора через резистор R4 до напряжения примерно 4,5 В состояние элементов D1.1 и D1.2 возвращается к исходному, транзисторы закрываются и реле К1 отпускает якорь.
Для реле времени можно применить микросхему серии К176, имеющую не менее двух инверторов, например К176ЛА9, К176ЛЕ5. Остальные элементы устройства такие же, как в схеме на рис. 5,а.
Реле времени на включение или выключение сетевой нагрузки можно собрать и на тринисторе. Такое устройство имеет большую надежность и долговечность. Принципиальная схема универсального реле времени с бесконтактным выключением нагрузки показана на рис. 6. Максимальная выдержка времени на включение или выключение 30 мин. Потребляемая мощность не превышает 0,3 Вт.
Если реле времени используют с выдержкой на включение, переключатель S2 должен быть в положении, показанном на схеме, если же на выключение — его переводят в нижнее положение. В исходном состоянии на выходе элемента D-1.2 действует напряжение высокого уровня, на выходе D1.3 — напряжение низкого уровня.
При поступлении напряжения высокого уровня на базу транзистора V7 он открывается, пропуская ток по цепи управляющего электрода тринистора V6. Открывающийся в начале каждого полупериода тринистор обеспечивает протекание номинального тока через нагрузку RH. При нажатии на кнопку S1 током через резистор R5 заряжается конденсатор С2. На выходах элементов D1.1 и D1.2 устанавливаются напряжения низких уровней, на выходе D1.3 — напряжение высокого уровня. Транзистор и тринистор закрыты. При отпускании кнопки S1 конденсатор С2 разряжается через резисторы R6 и R7. При напряжении на конденсаторе С2 около 4,5 В, логические элементы переключаются в исходное состояние. Транзистор V7 и тринистор V6 открываются или закрываются в зависимости от положения переключателя S2.

Рис. 6

Рис. 7
Для реле времени можно применять диоды VI — V5 на обратное напряжение не менее 500 В, прямой ток не менее 3 А, например КД203Б — КД2ОЗД, КД206Б, КД206В (диод VI на обратное напряжение не менее 400 В, прямой ток не менее 0,3 А). Тринистор КУ202М можно заменить на КУ202Н, Т6-10-10. Конденсатор С2 должен быть с малым током утечки.
Реле времени можно совместить с регулятором мощности. Такое устройство удобно применять с осветительными и нагревательными приборами, например с фотоувеличителем, паяльником, кипятильником и т. п. Принципиальная схема реле времени с регулятором мощности представлена на рис. 7. Устройство имеет два поддиапазона выдержки — «1...100 с» и «1 ...60 мин» — и допускает регулирование тока через нагрузку от 5 до 95%. Потребляемая мощность около 1,5 Вт.
В исходном состоянии конденсатор СЗ (С4) разряжен, транзисторы V9 и V10 открыты, V6, V7 и тринистор V5 закрыты и ток через нагрузку не течет. При нажатии на кнопку S1 заряжается конденсатор СЗ (выдержка в секундах) или С4 (выдержка в минутах) до напряжения стабилизации стабилитрона V8. После отпускания кнопки S1 транзисторы V10, V9 закрываются и включается регулятор мощности. Транзисторы V7, V8 открываются на некоторое время в каждом полупериоде сетевого напряжения.
Фаза открывания транзисторов определяется параметрами элементов R4, R5, С2.
Конденсатор СЗ (С4) медленно разряжается через переменный резистор R7. После его разрядки до напряжения отсечки транзистора V10 транзисторы V10, V9 открываются, и регулятор мощности выключается. Высокочастотный фильтр C1L1 препятствует проникновению в сеть высокочастотных помех, образующихся при работе регулятора мощности.

Рис. 8
В устройстве можно применить любые диоды, рассчитанные на прямой ток не менее 3 А и обратное напряжение не менее 400 В. Транзисторы V6, V9 — любые из серий КТ312, КТ315; V7 любой из серий КТ361, КТ2ОЗ. Вместо КП303Б можно применить транзистор КПЗОЗА. Статический коэффициент передачи тока биполярных транзисторов должен быть не менее 50. При использовании полевого транзистора другой серии, например КП302А, выдержка уменьшается из-за большего напряжения отсечки этого транзистора. Конденсаторы СЗ и С4 должны иметь возможно меньший ток утечки.